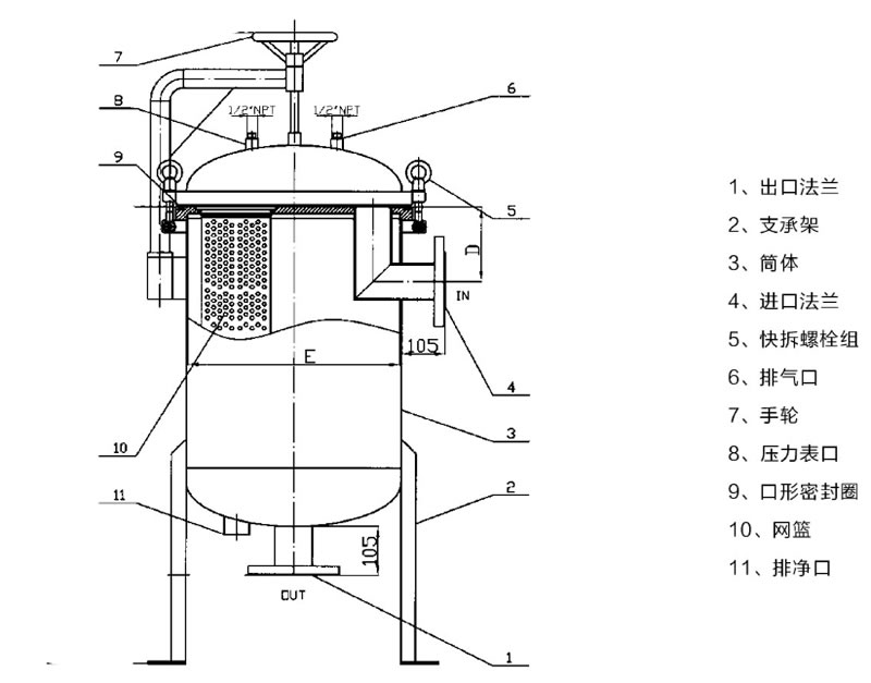
袋式過濾器是一種壓力式過濾裝置,主要有過濾筒體、過濾筒蓋和開啟機構、加強網等主要部件組成。
濾液由過濾機外殼的旁側入口管流入濾袋,濾袋本身是裝置在加強網籃內,液體滲透過所需要細度等級的濾袋即能獲得合格的濾液,雜質顆粒被濾袋攔截。該機更換濾袋十分方便,過濾基本無物料消耗。
示意構造圖
技術參數
|
濾袋型號 |
1#: 7”×17”(180mm×420mm) |
|
工作壓力(MPa) |
0.05—0.6 |
|
工作溫度(℃) |
5—40(特殊溫度可定做) |
|
過濾精度(μm) |
5.0-200 |
|
材質 |
304不銹鋼、316L不銹鋼 |
選型表
| 型號 | 濾袋數量 | 濾袋規格 | 過濾面積(m2) | 進出口尺寸(mm) | 參考流量(t/h) |
| SLF-DS-102 | 1 | 2# | 0.5 | DN50/PN1.0 | 15—30 |
| SLF-DS-202 | 2 | 2# | 1.0 | DN80/PN1.0 | 30—60 |
| SLF-DS-302 | 3 | 2# | 1.5 | DN100/PN1.0 | 45—90 |
| SLF-DS-402 | 4 | 2# | 2.0 | DN125/PN1.0 | 60—120 |
| SLF-DS-502 | 5 | 2# | 2.5 | DN150/PN1.0 | 75—150 |
| SLF-DS-602 | 6 | 2# | 3.0 | DN150/PN1.0 | 90—180 |
| SLF-DS-702 | 7 | 2# | 3.5 | DN200/PN1.0 | 105—210 |
| SLF-DS-802 | 8 | 2# | 4.0 | DN200/PN1.0 | 120—240 |
| SLF-DS-902 | 9 | 2# | 4.5 | DN200/PN1.0 | 135—270 |
| SLF-DS-1002 | 10 | 2# | 5.0 | DN200/PN1.0 | 150—300 |
| SLF-DS-1202 | 12 | 2# | 6.0 | DN200/PN1.0 | 165—330 |
| SLF-DS-1402 | 14 | 2# | 7.0 | DN250/PN1.0 | 180—360 |
| SLF-DS-1602 | 16 | 2# | 8.0 | DN250/PN1.0 | 195—390 |
| SLF-DS-1802 | 18 | 2# | 9.0 | DN250/PN1.0 | 210—420 |
| SLF-DS-2002 | 20 | 2# | 10.0 | DN300/PN1.0 | 225—450 |
| SLF-DS-2202 | 22 | 2# | 11.0 | DN300/PN1.0 | 240—480 |
| SLF-DS-2402 | 24 | 2# | 12.0 | DN300/PN1.0 | 255—510 |
結構簡單,操作簡便
結構簡單,操作簡便,使用安全可靠,幾乎不需維護。
體積小,處理能力大
與擴大管、緩沖箱等除砂設備相比,具有體積小,處理能力大,節省現場空間等優點。
不間斷供水
可在不間斷供水過程中清除水中的砂粒。
除砂效率高
避免了其他除砂方式存在水質二次污染的現象,除砂效率高。
1. 食品飲料行業:啤酒,葡萄酒、果酒、清酒、白酒、黃酒、果汁、瓶裝水、茶飲料、豆奶、糖漿、乳制品、食品添加劑等澄清處理和CIP水過濾。
2. 石油化工行業:潤滑油及各種油品、粘膠、化學纖維制造過程各種溶液過濾。
3. 酒店餐飲行業:生活飲用水、井水等的高效過濾。
4. 醫藥衛生行業:各種醫藥中間體、醫藥原料、溶劑過濾。